1214箱式破碎機內部圖片

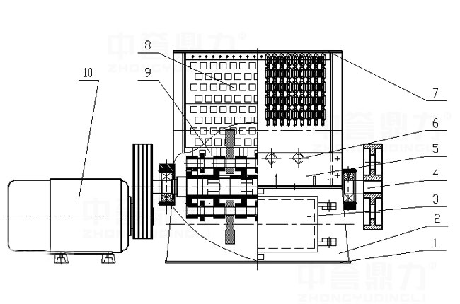
通過1214箱式破碎機內部結構圖可知,箱破組成包括轉子、前面、圓鋼、上面板部件、機篩網、底座下法蘭、底座前后板、門鋇、電機。
該回答是否解決您的問題是否
溫馨提示:如果上述問題和您的問題不同,可在線咨詢技術人員咨詢技術
還沒有符合您的答案?快速電話咨詢
咨詢電話:400-700-2111
提交問題,3分鐘快速解答
通過1214箱式破碎機內部結構圖可知,箱破組成包括轉子、前面、圓鋼、上面板部件、機篩網、底座下法蘭、底座前后板、門鋇、電機。